
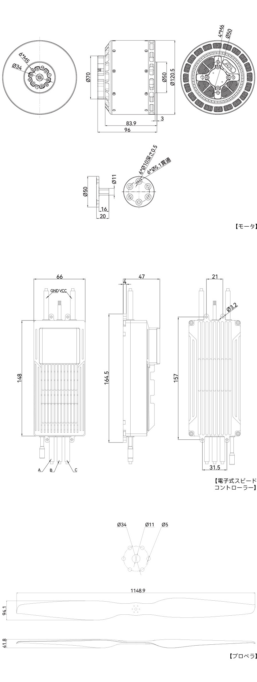
VLシリーズ
パワーシステム
パワーシステム
VL1180
KV60
KV60
モータ
VL300A
電子式スピード
コントローラー
コントローラー
VZ45
プロペラ

プロペラ固定は「迅速」
と「節エネ」を両立
と「節エネ」を両立
迅速 (秒で速やかプロペラ調整)
360°任意角度プロペラ調整。回転翼の回転による気流の乱れを効果的に回避し、
固定翼ドローンに影響を与えないことを確保し、飛行安全性を向上
させることができます。
節エネ (プロペラピッチ調整)
外力の変化に応じて、ESCはに電流の大きさを調整してプロペラ調整トル
クを制御し、消費電力を低減しながら発熱を低減し、省エネ効果を達成
することができます。
*モーターピッチ固定時の消費電力は約10W。

IP45
防塵ネットを新規追加し、最適化されたモーター構造と組み合わせることで、
IP保護等級をIP45にまで向上。粉塵の侵入を効果的に遮断し、巻線の絶縁性能と
使用寿命を保護します。

温度フィードバック
リアルタイムモニタリング
リアルタイムモニタリング
高負荷の作動条件下でも、モーターの運転は安定して制御可能です。
推奨パラメータ
24S
推奨電圧
88kg
一軸最大引張力
140~150kg
コンポジット翼
コンポジット翼
推奨離陸重量 (4軸)

